• 45° 彎頭尖嘴設計,搭配鋸齒狀鉗口,可在狹窄空間中穩定夾持小型零件、端子或彈簧
• 熱處理鉗身結構,大幅提升工具壽命與耐磨性
• 專利合金鋼材的晶粒結構以熱鍛成型技術沿鉗身輪廓塑型,具極高韌性與耐衝擊性
• 硬度規格 42–46 HRC,刀口與鉗身皆具優異的耐磨與抗形變能力
• 精密研磨接合面可減少摩擦,確保操作順暢無須頻繁潤滑
• 螺絲樞軸結構可降低摩擦、維持鉗口高精度對位
• 內建扭力彈簧,鉗嘴自動開合回位,有效減少手部疲勞、並可隨時待命使用
• 精準的鋸齒加工,可對精密與易損材料進行穩定夾持而不滑脫
• 鎖固螺紋設計,防止樞軸螺絲在使用過程中鬆脫
.png)
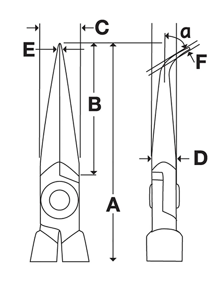
| Dimension C, Head Width, mm | 12.5 | |
| Dimension D, Head Thickness, mm | 7.6 | |
| Dimension F, Tip Thickness, mm | 1.9 | |
| Jaw Style | Serrated | |
| Country of Origin | ESP | |
| Head Style | 45° | |
| Dimension B, Jaw Flat Length, mm | 46.8 | |
| Dimension A, Length, mm | 141 | |
| Dimension E, Tip Width, mm | 1.8 |